Thông báo

Collapse
No announcement yet.

Giúp tui làm mạch tạo điện áp +,- 15V từ nguồn đối xứng 24V

Collapse
X
 
  • Lọc
  • Giờ
  • Show
Clear All
new posts

  • Giúp tui làm mạch tạo điện áp +,- 15V từ nguồn đối xứng 24V

    Giúp em làm mạch tạo điện áp +, - 15 V từ nguồn đối xứng 24 với, công suất vài oát thôi k cần nhìu. Các huynh đệ giúp em với!!!
    Cảm ơn rất nhìu!

  • #2
    BẠn dùng hai con 7815 và 7915!

    Comment


    • #3
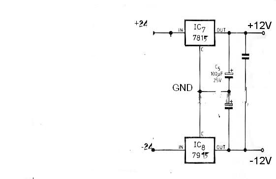
      Quên mất ko post machj nguyên lý cho pác!
      Attached Files

      Comment


      • #4
        Nguyên văn bởi biendt Xem bài viết
        BẠn dùng hai con 7815 và 7915!
        Cám ơn pác, pác ơi tạo ra điện áp +,-15V từ nguồn đối xứng xoay chiều 24V cơ. Pác có thể post luôn cả cách bố trí diode nữa không?, cám ơn pác đã giúp đỡ!

        Cho em hỏi thêm nữa là mạch nguyên lý ghi 2200/25 có phải là 2200 microF 25V không?
        Last edited by UltraBanana; 19-12-2008, 09:00.

        Comment


        • #5
          Ra mua thêm một bộ chỉnh lưu để chuyển 24VAC thành điện 1 chiều + một cái tụ lọc nữa.
          Biển học vô bờ

          Comment


          • #6
            Thế pác không bảo trứoc tồi cứ tưởng pác cái nguồn DC đồi xúng DC rồi! Ra chợ mua cái biến áp có đầu ra là 48V (ko co tụ quấn) Dùng cầu diode để chỉnh luu.
            đây là sơ đồ mạch nguyên lý pác có thể tham khảo!
            Attached Files

            Comment


            • #7
              Biến áp 48V có chân giữa. (24-0-24). Chân giữa nối với chân có ký hiệu GND chổ tụ đó. OK

              Comment


              • #8
                thanks bác em có biến áp đối xứng 24V rùi, nhưng em lo IC 7815 với IC 7915 xuống tận 15V có ổn không thui?

                Comment


                • #9
                  Nguyên văn bởi UltraBanana Xem bài viết
                  Giúp em làm mạch tạo điện áp +, - 15 V từ nguồn đối xứng 24 với, công suất vài oát thôi k cần nhìu. Các huynh đệ giúp em với!!!
                  Cảm ơn rất nhìu!
                  Nguyên văn bởi UltraBanana Xem bài viết
                  thanks bác em có biến áp đối xứng 24V rùi, nhưng em lo IC 7815 với IC 7915 xuống tận 15V có ổn không thui?
                  1/. Nhấn nút cảm ơn vào bài viết để cảm ơn cho đúng với qui định, đừng viết như thế.

                  2/. Điện áp AC khi nắn lọc sẽ có ~ 32 volt (vì VDC = VAC x 1,414) nhưng đỉnh xung có thể đến 35V. Dùng 7815 và 7915 không được vì quá áp.

                  3/. Cung cấp cho mạch Equalyser thì đúng là vài Watt, nghĩa là chỉ cần trên dười 150 mA thì dùng mạch dưới đây là đủ dùng.

                  - Mạch dùng zenner 15,5V (hay 15Vz cũng được) ghim áp và BJT khuếch đại dòng, tối đa có thể đến 500 mA. Điểm giữa biến áp 0V cũng là điểm masse chung.

                  - Mạch có thể dùng cho các cấp điện áp cao như 35VAC hay 40VAC đôi cũng được. Khi đó nhớ thay tụ lọc đúng điện áp và BJT là C2383 và A1013.



                  Chúc thành công.

                  Thân ái.

                  Lan Hương
                  Attached Files

                  Comment


                  • #10
                    Trả lời giúp em chị ơi!

                    Nguyên văn bởi lanhuong Xem bài viết
                    1/. Nhấn nút cảm ơn vào bài viết để cảm ơn cho đúng với qui định, đừng viết như thế.

                    2/. Điện áp AC khi nắn lọc sẽ có ~ 32 volt (vì VDC = VAC x 1,414) nhưng đỉnh xung có thể đến 35V. Dùng 7815 và 7915 không được vì quá áp.

                    3/. Cung cấp cho mạch Equalyser thì đúng là vài Watt, nghĩa là chỉ cần trên dười 150 mA thì dùng mạch dưới đây là đủ dùng.

                    - Mạch dùng zenner 15,5V (hay 15Vz cũng được) ghim áp và BJT khuếch đại dòng, tối đa có thể đến 500 mA. Điểm giữa biến áp 0V cũng là điểm masse chung.

                    - Mạch có thể dùng cho các cấp điện áp cao như 35VAC hay 40VAC đôi cũng được. Khi đó nhớ thay tụ lọc đúng điện áp và BJT là C2383 và A1013.



                    Chúc thành công.

                    Thân ái.

                    Lan Hương
                    1/. Em vừa Thanks vừa ấn vào nút CẢM ƠN màu cam đấy chứ?
                    2/. AC có Umax = 24x 1,44 thật, nhưng khi em cho qua cầu diode vẫn chỉ có 24V hay đồng hồ em hỏng rùi
                    3/. Mạch của chị đúng là rất ổn nhưng tốn nhiều linh kiện quá, mà em thì có sẵn 7815 và 7915 rùi vậy em có thể dùng điện trở công suất để tạo sụt áp không?
                    Chị giúp em với!!!

                    Comment


                    • #11
                      Nguyên văn bởi aici Xem bài viết
                      Biến áp 48V có chân giữa. (24-0-24). Chân giữa nối với chân có ký hiệu GND chổ tụ đó. OK
                      nếu biến áp không có chân giữa thì làm thế nào bạn ? ( mình là lính mới vào nghề nên ko biết nhiều lắm , nhờ anh em chỉ bảo thêm )
                      em có 1 biến áp ko có điểm giữa ( chỉ ra 0 -15v) em muốn tạo 1 mạch nguồn +-12 dùng ic 7812 và ic 7912 nhưng không biết cách mắc mass chung , mong anh em giúp với

                      Comment


                      • #12
                        Chào chị Lan Hương !
                        Hiện em đang cần một mạch nguồn -+15 V, dòng 2A, có bảo vệ, chị có mạch đó không vậy chị giúp em với, em cần làm đồ án về mạch này mà chưa có thông tin gì cả giờ mới đi kiếm

                        Comment


                        • #13
                          Dùng 7815 và 7915 ra dc +/- 12 thì giỏi thật, hì...

                          Comment


                          • #14
                            giả sử mình đã có đầu ra là +3.3; +5 và +8 V có mạch nào thực hiện được việc cho ra -3.3;-5 và -8 V ko nhỉ

                            Comment


                            • #15
                              Nguyên văn bởi alphahero Xem bài viết
                              giả sử mình đã có đầu ra là +3.3; +5 và +8 V có mạch nào thực hiện được việc cho ra -3.3;-5 và -8 V ko nhỉ
                              sử dụng con MC34063 cấp điện áp 5V cho nó để nó convert thành -8V. sau đó lấy con LM337 để ổn áp xuống -5V và -3.3V.

                              Comment

                              Về tác giả

                              Collapse

                              UltraBanana Tìm hiểu thêm về UltraBanana

                              Bài viết mới nhất

                              Collapse

                              Đang tải...
                              X