Chào các anh!
Em đang học sử dụng matlab.code dưới đây là em viết 1 chương trình nội suy đường thẳng theo phương pháp DDA.Mọi người có thể cho em biết code có điểm nào chưa ổn và em muốn plot ra quĩ đạo chuyển động theo x và y thì làm như thế nào a.
Em cảm ơn!
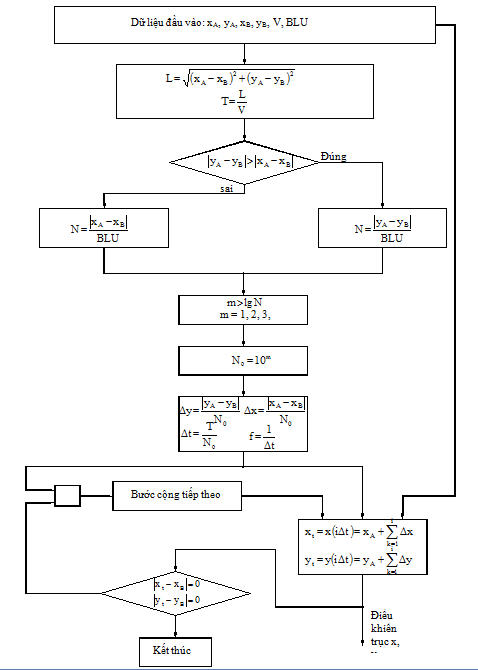
Đây là sơ đồ khối.mọi người click vào để thấy rõ hơn a.

input_data;
l=sqrt((xa-xb)^2+(ya-yb)^2);
t=l/v;
%tinh so buoc noi suy n
if abs(ya-yb)>abs(xa-xb);
n=abs(ya-yb)/blu;
else
n=abs(xa-xb)/blu;
end
%tinh so buoc noi suy thuc te n0
for m = 1:1000 ;
if m>log10(n);
n0=10^m;
break;
end
end
deltay=abs(ya-yb)/n0;
deltax=abs(xa-xb)/n0;
deltat=t/n0;
f=1/deltat;
%noi suy
for i=1:n0;
x=xa+deltax*i;
y=ya+deltay*i;
end
if abs(x-xb)==0 & abs(y-yb)==0;
break;
end
Em đang học sử dụng matlab.code dưới đây là em viết 1 chương trình nội suy đường thẳng theo phương pháp DDA.Mọi người có thể cho em biết code có điểm nào chưa ổn và em muốn plot ra quĩ đạo chuyển động theo x và y thì làm như thế nào a.
Em cảm ơn!
Đây là sơ đồ khối.mọi người click vào để thấy rõ hơn a.
input_data;
l=sqrt((xa-xb)^2+(ya-yb)^2);
t=l/v;
%tinh so buoc noi suy n
if abs(ya-yb)>abs(xa-xb);
n=abs(ya-yb)/blu;
else
n=abs(xa-xb)/blu;
end
%tinh so buoc noi suy thuc te n0
for m = 1:1000 ;
if m>log10(n);
n0=10^m;
break;
end
end
deltay=abs(ya-yb)/n0;
deltax=abs(xa-xb)/n0;
deltat=t/n0;
f=1/deltat;
%noi suy
for i=1:n0;
x=xa+deltax*i;
y=ya+deltay*i;
end
if abs(x-xb)==0 & abs(y-yb)==0;
break;
end

Comment