Mình thấy robocon năm này có vẻ lạ hơn mấy năm trước nên việc đưa ra ý tưởng cũng là 1 công việc hơn khó vì vậy mình đưa lên đây để những ai chưa biết gì về robocon có thể đưa ý tưởng để mọi người đánh giá cũng như nhân xét xem ý tưởng đó có thực thi hay không . Nó bao gồm những phần ý tưởng như sau:
+ làm sao cho con robo lữ hành không bị rơi xuống khi đi qua dốc
+ bánh xe của robo tự động chế tạo cách nào để chạy với tốc độ nhanh khi đi qua các khúc cua
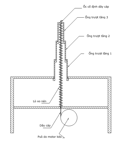
+ chế tạo cách trượt như thế nào để việc đưa lên đưa xuống của robo lữ hành được nhanh đó là cái trượt khi con robo lữ hành dùng trong việc đánh trống
Mong các bạn vô đây để cùng nêu lên ý tưởng của mình
+ làm sao cho con robo lữ hành không bị rơi xuống khi đi qua dốc
+ bánh xe của robo tự động chế tạo cách nào để chạy với tốc độ nhanh khi đi qua các khúc cua
+ chế tạo cách trượt như thế nào để việc đưa lên đưa xuống của robo lữ hành được nhanh đó là cái trượt khi con robo lữ hành dùng trong việc đánh trống
Mong các bạn vô đây để cùng nêu lên ý tưởng của mình



Comment