Thông báo
Collapse
No announcement yet.
Cách đấu nối biến áp tự ngẫu
Collapse
X
-
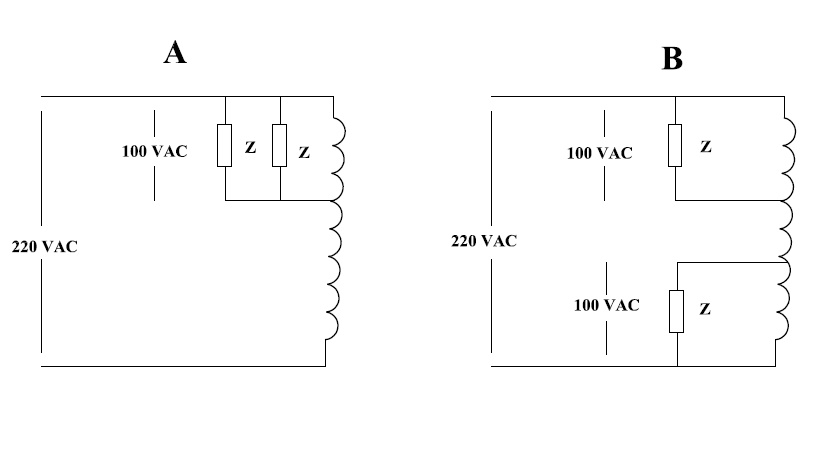
Bác có thể cho vài lời giải thích ? Lợi về công suất hay vấn đề gì khác ?Nguyên văn bởi phongltyt Xem bài viếtdùng sơ đồ b! lợi hơn. Nhưng dùng sơ đồ chuyển phần giữa của sơ đồ b về một trong 2 đầu sẽ lợi nhất.
Comment
-
Đúng thế mình nhầm một chút.Nguyên văn bởi T.L.M Xem bài viếtMạch nối tiếp thì nằm ở giữa hay ở đầu thì cũng như nhau thôi. Nếu cần thì thay cuộn dây ở giữa bằng dây có tiết diện lớn hơn.
Giải thích: Giả sử tải 1A
Comment
-
Đúng thế mình nhầm một chút.Nguyên văn bởi T.L.M Xem bài viếtMạch nối tiếp thì nằm ở giữa hay ở đầu thì cũng như nhau thôi. Nếu cần thì thay cuộn dây ở giữa bằng dây có tiết diện lớn hơn.
Giải thích: Giả sử tải 1A
- 1 like
Comment
-
Ngần đúng ta có tải vào bằng tải ra. Bạn tính dòng của Z1, Z2 chiều dòng điện vẫn thế. Bạn sẽ tính được dòng trong các phần của cuộn dây. Từ đó chọn dây cho phù hợp để đạt kinh tế nhất.Nguyên văn bởi thetung Xem bài viếtNếu hai cái tải Z đó mà khác nhau thì sao nhỉ ????
Comment
-
Cảm ơn bạn. Cho mình hỏi: Giả sử dòng tải qua Z là 15A thì cách tính các dòng điện đi qua các cuộn dây biến áp như thế nào ? Giá trị là bao nhiêu ?Nguyên văn bởi phongltyt Xem bài viếtĐúng thế mình nhầm một chút.
Giải thích: Giả sử tải 1A [ATTACH=CONFIG]n1651276[/ATTACH]
Comment
-
Vậy dòng qua 02 cuôn dây (p/a B) là 1.35A ?Nguyên văn bởi phongltyt Xem bài viếtBạn nhân các giá trị trên #7 với 15
Comment
Bài viết mới nhất
Collapse
-
bởi bqvietMạch cồng kềnh nhưng khá bài bản. Nếu tự làm để học thì cũng đáng để bắt tay nghịch chơi. Nếu chỉ cần sản phẩm thì các sàn thương mại điện tử có sẵn UPS DC này ra 5V hoặc 12V rất sẵn, chạy pin, giá cũng không đắt.
-
Channel: Điện tử sáng tạo
Hôm qua, 18:28 -
-
bởi mylinhattTrong vận hành thực tế, nhiều xưởng gia công gặp tình trạng máy phay CNC bắt đầu sai kích thước, bề mặt rung nhẹ hoặc phát sinh lỗi thay dao dù chương trình và dao cắt không thay đổi. Phần lớn các vấn đề này không xuất phát từ lập trình mà đến từ việc bảo dưỡng máy chưa được thực hiện đúng và đủ....
-
Channel: Máy công cụ
22-12-2025, 11:27 -
-
bởi ittcHì, em tính đi mua 1 cái máy Khoan và máy Mài (cắt), em đã chính thức gạt thằng BOSCH sang 1 bên vì giá cao hơn Dewalt và Makita, hơn nữa xem Cataloge của nó thì hàng ít model mẫu mã hơn.
Giá Dewalt và Makita thấy ngang ngửa nhau, thôi thì nhu...-
Channel: Điện tử gia dụng
22-12-2025, 07:20 -
-
bởi DaoVanTrongChào Anh Em. Nay em có tạo 1 sơ đồ mạch UPS sau, xin Ae cho ý kiến.
Và nếu biết sản phẩm này nếu có sẵn thì em xin link để mua (nếu giá phù hợp) thì em đỡ phải làm ạ, vì em tìm nhưng không thấy:
╔═══════════════════[ĐIỆN_LƯỚI_220V]════════════════╗...-
Channel: Điện tử sáng tạo
21-12-2025, 23:32 -
-
Trả lời cho Nên mua máy phay CNC cũ, máy mới phổ thông hay máy chất lượng cao? Góc nhìn từ bài toán sản xuất thực tếbởi nguyendinhvanNgày trước, khi KT đang tăng trưởng, một cái máy tự động cũ tầm trung, thì khoảng 5 năm là hoàn vốn. Nhưng hiện tại, mọi việc đều chậm trễ, cạnh tranh, nên theo các xếp tính thì phải hơn 10 năm làm việc ngon lành thì mới hoàn vốn....
-
Channel: Máy công cụ
20-12-2025, 20:23 -
-
Trả lời cho cách làm led Hao Quang.có pro nào biết k nhỉ ???bởi StatusHello! I'm from Kazakhstan. Can anyone share the HEX file with me? The download link in post 50 doesn't work.
-
Channel: Vi điều khiển họ 8051
18-12-2025, 00:05 -
-
bởi mylinhattChào anh em cơ khí,
Trong quá trình tư vấn đầu tư thiết bị cho xưởng, mình gặp rất nhiều câu hỏi kiểu: “Nên mua máy phay CNC cũ để tiết kiệm, chọn máy mới phổ thông cho yên tâm, hay cố gắng lên máy chất lượng cao để làm hàng khó?”. Thực tế, đây không phải câu hỏi chỉ về...-
Channel: Máy công cụ
17-12-2025, 13:38 -
-
Trả lời cho Vấn đề về tốc độ quaybởi nguyendinhvanSử dụng động cơ servor, hoặc lắp thêm một cái encoder vào động cơ bước. Encoder sẽ kiểm soát động cơ có quay hoặc đứng im.
-
Channel: Điện tử truyền hình
14-12-2025, 19:50 -

Comment